Установка пескоструйная УПС-342-62 / Технические характеристики, состав установки
1. ВВЕДЕНИЕ
1.1. Руководство по эксплуатации предназначено для изучения конструкции и обеспечения эксплуатации установки пескоструйной УПС-342-62 и определяет порядок подготовки установки к работе, порядок работы и способы устранения возможных неисправностей.
1.2. Установка предназначена для подготовки (очистки от ржавчины и загрязнений) металлических поверхностей перед нанесением на них защитных покрытий. Установка может быть использована также для очистки неметаллических поверхностей: стен зданий, набережных, изделий из камня и т. п.
1.3. К работе с установкой допускаются лица, прошедшие инструктаж по ТБ, сдавшие экзамены и имеющие соответствующее удостоверение, ознакомленные с настоящим Руководством.
1.4. Оператор должен иметь квалификацию не ниже 3 разряда.
2. УСЛОВИЯ ЭКСПЛУАТАЦИИ УСТАНОВКИ
2.1. Установка предназначена для работы на открытом воздухе при отсутствии атмосферных осадков.
2.2. По воздействию климатических факторов установка соответствует исполнению V категории I по ГОСТ 15150-69 и допускает эксплуатацию при температурах от минус 20°С до +50°С.
3. ТЕХНИЧЕСКИЕ ХАРАКТЕРИСТИКИ
3.1. Производительность установки по очистке стальной поверхности от ржавчины, м2/час....18-20*.
3.2. Масса загружаемого в сосуд абразива, кг......................................... 135
3.3. Время выработки полностью загруженного сосуда, мин..........13-17*
3.4. Зернистость абразива, мм...............................................................0,5-3,0
3.5. Габариты установки, мм
- длина.......................................................................................................... 900
- ширина........................................................................................................800
- высота.......................................................................................................1300
3.6. Масса установки без абразива, кг
- полностью собранной............................................................................135
3.7. Длина шлангов, м
- от компрессора до установки............................................................... 10
- от установки до брандспойта................................................................ 10
3.8. Давление в сосуде, МПа (кгс/см2)
- испытательное ..................................................................................1,1(11)
- максимальное рабочее.................................................................0,7 (7,0)
3.9. Характеристики источника сжатого воздуха (компрессора),
необходимого для работы установки:
- давление воздуха на выходе, МПа (кгс/см2).................................0,7 (7,0)
- производительность, м3/мин....................................................................4-6*
ПРИМЕЧАНИЯ: 1. *Возможно использование компрессора с меньшей производительностью. При этом в брандспойт должно быть установлено сопло с диаметром отверстия 6 мм. Производительность установки в этом случае уменьшится, а расход абразива останется неизменным.
2. *Характеристики зависят от диаметра сопла брандспойта. Приведённые значения - для штатной комплектации с диаметром сопла брандспойта 8 мм.
ВНИМАНИЕ! По результатам эксплуатации установки происходит постоянное совершенствование её конструкции, в связи с чем возможны незначительные отличия установки от описанной в «Руководстве».
4. СОСТАВ УСТАНОВКИ
![]() |
| рис.1. Схема пневматическая принципиальная
|
| 1 - кран шаровой (dy = 25 мм); 2 - фильтр-влагоотделитель; 3 - шлем защитный; 4 - пневмодроссель; 5 - фильтр тонкой очистки воздуха; 6 - распределитель; 7 - клапан предохранительный; 8 - кран шаровой (dy =15 мм); 9 - сосуд; 10 - вкладыш; 11 - смеситель; 12 -брандспойт.
|
4.1. Принципиальная пневмогидравлическая схема показана на рисунке 1. На рисунке 2 представлен общий вид установки, а на рисунке 3 -вид установки снизу.
![]() |
| рис.2. Общий вид установки
|
| 1 - шланг воздушный; 2 - кран шаровой; 3 - фильтр-влагоотделитель; 4 - рукав; 5 - распределитель; 7 - смеситель; 8 - фильтр тонкой очистки воздуха; 9 - шланг дыхательный; 10 - пневмодроссель; 11 - шлем защитный; 12 - шланг абразивный; 13 - шаровой кран сброса давления; 14 - рассекатель; 15 - сосуд; 16 - устройство загрузочное; 17 - шланг наддува сосуда; 18 - вкладыш.
|
4.2. В состав установки (рис. 2) входят шланг воздушный 1, кран шаровой 2, фильтр - влагоотделитель 3, рукав 4, распределитель 5, клапан предохранительный 6, смеситель 7, фильтр тонкой очистки воздуха 8, шланг дыхательный 9, пневмодроссель 10, шлем защитный 11, шланг абразивный 12, кран шаровой сброса давления 13, рассекатель 14, сосуд 15, устройство загрузочное 16, шланг наддува сосуда 17, вкладыш 18.
![]() |
| рис.3. Вид установки снизу
|
| 1 - сосуд; 3 - фильтр-влагоотделитель; 4 - рукав; 5 - распределитель; 6 - клапан предохранительный; 7 - смеситель; 8 - фильтр тонкой очистки воздуха; 9 - штуцер шланга дыхательного; 12 - шланг абразивный; 17 - рукав наддува бака.
|
4.3. Устройство загрузки абразива в сосуд состоит из воронки, сита, бункера загрузочного, кольца уплотнительного, диафрагмы, втулки, клапана, прокладки.
![]() |
| рис.4. Смеситель
|
| 1- корпус; 2- золотник; 3- кольцо уплотнительное; 4- палец; 5-пружина; 6- гильза; 7-крышка; 8- ось; 9- рукоятка; 10- шток; 11- пробка; 12- прокладка.
|
4.4. Смеситель (рис.4) состоит из корпуса 1, золотника 2, кольца уплотнительного 3, пальца 4, пружины 5, гильзы 6, крышки 7, оси 8, рукоятки 9, штока 10, пробки 11, прокладки 12.
![]() |
| рис.5. Шланг абразивный
|
| 1 - корпус; 2 - сопло; 3 - рукав;4 - штуцер; 5 - кольцо резиновое; 6 - гайка накидная; 7 - хомут
|
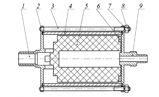
4.5. Шланг абразивный (рис. 5) с брандспойтом состоит из корпуса 1, сопла 2, рукава 3, штуцера 4; кольца резинового 5, гайки накидной 6, хомута 7.
![]() |
| рис.6. Фильтр
|
| 1 - фланец входной; 2 - прокладка; 3 - шпилька; 4 - цилиндр; 5 - элемент фильтрующий; 6 - прокладка; 7 - шайба; 8 - гайка; 9 - фланец выходной.
|
4.6. Фильтр (рис. 6) для подачи воздуха в устройство защиты оператора состоит из фланца входного 1, прокладок 2, шпилек 3, цилиндра 4, элемента фильтрующего 5, прокладки 6, шайб 7, гаек 8, фланца входного 9.
4.7. Шланг воздушный для подачи сжатого воздуха от компрессора в установку состоит из рукава с муфтой и накидной гайкой для подсоединения к сосуду.
5. ОБЩИЕ УКАЗАНИЯ И МЕРЫ БЕЗОПАСНОСТИ
5.1. Установка относится к четвёртой группе сосудов по «Правилам устройства и безопасной эксплуатации сосудов, работающих под давлением», но не подлежит регистрации в органах Госгортехнадзора, так как произведение давления (0,1 МПа) на вместимость сосуда (0,125 м3) не превышает 1.
5.2. К работе с установкой допускается лица не моложе 18 лет после изучения эксплуатационной документации и сдачи зачета на право допуска к самостоятельной работе со сжатым воздухом.
5.3. При работе с брандспойтом работающий должен пользоваться защитным костюмом, защитным шлемом с подачей воздуха для дыхания и рукавицами или перчатками. Допускается использование противогаза или респиратора и очков.
5.4. Работы по ремонту и техническому обслуживанию установки должны производиться при отключенном источнике сжатого воздуха и при отсутствии давления в сосуде и магистралях.
5.5. Рабочее место должно иметь удобные подходы и подъезды.
5.6. 3АПРЕЩАЕТСЯ:
- находиться без защитных средств на расстоянии менее 8 метров от работающего брандспойта;
- направлять брандспойт на людей или подставлять под струю любые части тела;
- подтягивать резьбовые соединения магистралей воздуха, находящихся под давлением;
- одевать шлем на голову до настройки пневмодросселя подачи воздуха под шлем;
- работать без шлема и защитных рукавиц;
- располагать шланги между ног работающего;
- наносить удары по сосуду и другим элементам установки, находящимся под давлением.







